Propagation Characteristics of Dual Explosive Sources Gas Explosion in Different Arrangements in H-Type Tunnel
-
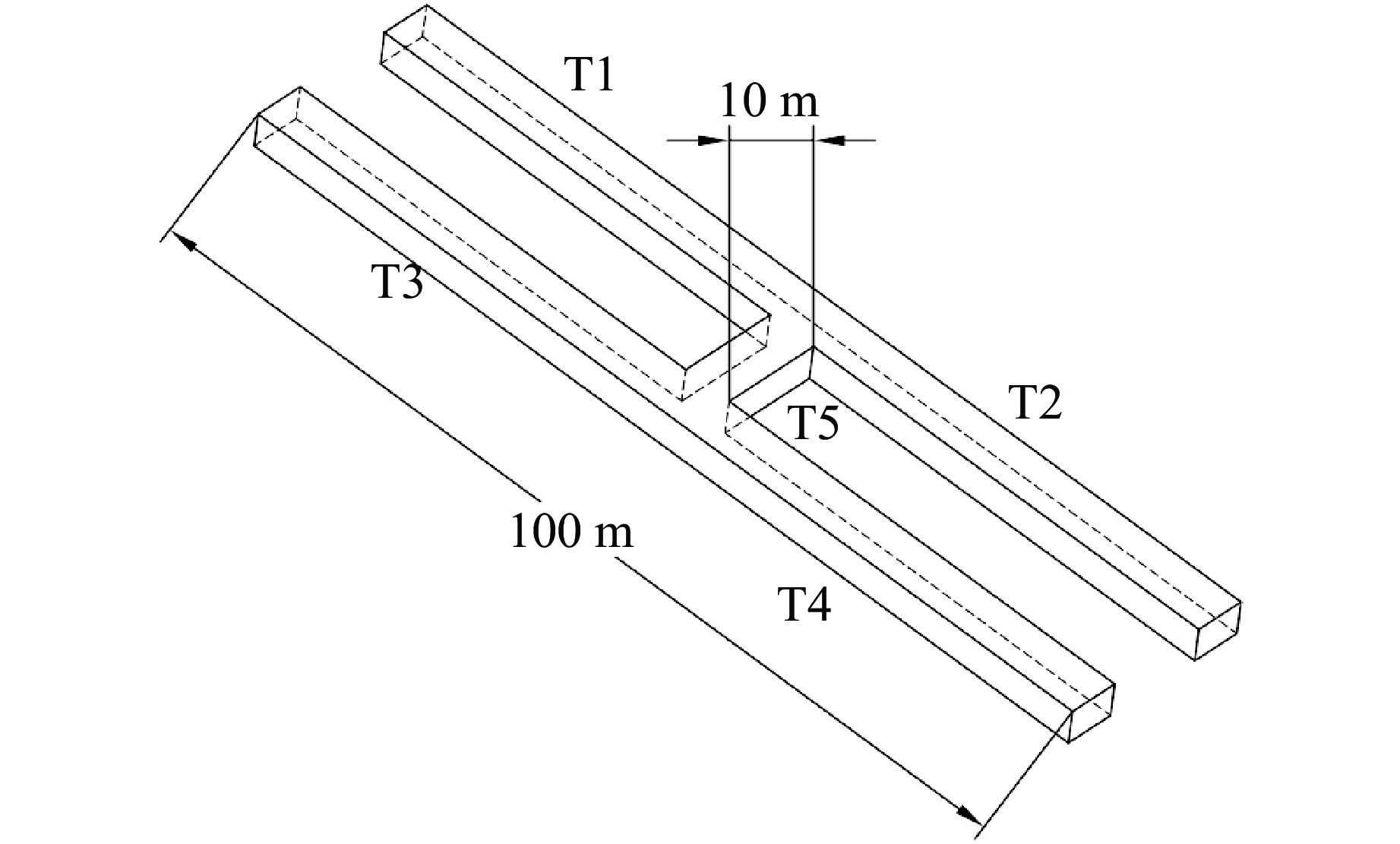
摘要: 为探究复杂巷道内多爆源瓦斯爆炸传播特性及热冲击动力学机制,运用计算流体力学软件Fluent,以H型巷道为模型,在巷道内设置同侧、相对、对角3种双爆源布置方式。研究发现:巷道内的2处爆源同时起爆后,前驱冲击波沿巷道未燃区传播,当两股冲击波相遇时,压力叠加,冲量抵消,在压力叠加区火焰传播受阻,导致火焰传播速度放缓甚至反向;相较于单爆源爆炸,双爆源工况中导致巷道内特定区域如联络巷、岔口中心及其边壁的压力更高;同侧和对角布置工况下的压力极值区出现在巷道封闭端,相对布置工况下的压力极值区出现在分岔口中心处。Abstract: In order to investigate the propagation characteristics and thermal shock dynamics of multiple explosive sources gas explosion in complex roadways, numerical simulations were conducted using the Fluent software under three types of dual explosive sources arrangements in the H-type tunnel, including the same side, opposite positions, and diagonal positions. It was found that, after the two explosive sources in the tunnel were ignited simultaneously, its prodromic shock wave propagated along the unburned area of the tunnel. When the two shock waves encountered, the pressure superimposed while the impulse canceled out, and the propagation of flame was blocked by the pressure superposition area, resulting in a slowdown or reversal of the speed. Compared to the single source explosion, the dual explosive sources led to a higher pressure in specific areas such as contact lane, center of bifurcation, and sidewalls. Extreme pressure zones occur at the closed end of the roadway under same-side and diagonal arrangement conditions and at the center of the bifurcation under the opposite arrangement condition.
-
Key words:
- gas explosion /
- H-type tunnel /
- arrangement /
- shock wave /
- propagation characteristics
-
表 1 边界条件设置
Table 1. Boundary condition setting
p0/kPa Rz/m T0/K $\varphi_{{\mathrm{CH}}_4}$/% $\varphi_{{\mathrm{O}}_2}$/% EI/J tI/ms ttot/ms 101.325 0 298 9.5 21.0 0.1 1 400 表 2 不同工况下巷道区域的峰值压力
Table 2. Peak pressure of tunnel under different cases
Position Peak pressure for dual explosion sources/MPa Peak pressure for single
explosive source/MPaSame-side Opposite Diagonal Starting end 0.82 0.82 0.82 Centre of contact lane 0.80 0.72 0.25 Opposite end 1.66 1.27 1.66 1.54 Bifurcation 1.45 0.42 Bifurcation sidewall 1.31 0.77 -
[1] 王鹏军, 李晋生, 马晋民. 网格型和“H”型通风系统在高瓦斯矿井中的应用 [J]. 山西煤炭, 2009, 29(4): 45–47. doi: 10.3969/j.issn.1672-5050.2009.04.019WANG P J, LI J S, MA J M. The application of grid and H shape ventilation systems in gasy mines [J]. Shanxi Coal, 2009, 29(4): 45–47. doi: 10.3969/j.issn.1672-5050.2009.04.019 [2] 肖培华, 刘畅峰. H. Y型通风系统在城山煤矿的应用 [J]. 江西煤炭科技, 2009(4): 31, 64.XIAO P H, LIU C F. Application of H. Y-type ventilation system in Chengshan colliery [J]. Jiangxi Coal Science and Technology, 2009(4): 31, 64. [3] 马恒, 陈晓军, 荆德吉. H 型通风巷道瓦斯爆炸及泄爆过程模拟研究 [J]. 中国安全科学学报, 2021, 31(1): 45–51. doi: 10.16265/j.cnki.issn1003-3033.2021.01.007MA H, CHEN X J, JING D J. Simulation study on gas explosion and discharge process in H-type ventilation roadway [J]. China Safety Science Journal, 2021, 31(1): 45–51. doi: 10.16265/j.cnki.issn1003-3033.2021.01.007 [4] 林柏泉, 叶青, 翟成, 等. 瓦斯爆炸在分岔管道中的传播规律及分析 [J]. 煤炭学报, 2008, 33(2): 136–139. doi: 10.3321/j.issn:0253-9993.2008.02.004LIN B Q, YE Q, ZHAI C, et al. Propagation law and analysis of gas explosion in bifurcated pipeline [J]. Journal of China Coal Society, 2008, 33(2): 136–139. doi: 10.3321/j.issn:0253-9993.2008.02.004 [5] 林柏泉, 张仁贵, 吕恒宏. 瓦斯爆炸过程中火焰传播规律及其加速机理的研究 [J]. 煤炭学报, 1999, 24(1): 56–59. doi: 10.3321/j.issn:0253-9993.1999.01.013LIN B Q, ZHANG R G, LYU H H. Research on accelerating mechanism and flame transmission in gas explosion [J]. Journal of China Coal Society, 1999, 24(1): 56–59. doi: 10.3321/j.issn:0253-9993.1999.01.013 [6] ZHAI C, LIN B Q, YE Q, et al. Influence of geometry shape on gas explosion propagation laws in bend roadways [J]. Procedia Earth and Planetary Science, 2009, 1(1): 193–198. doi: 10.1016/j.proeps.2009.09.032 [7] YE Q, LIN B Q, JIA Z Z, et al. Propagation law and analysis of gas explosion in bend duct [J]. Procedia Earth and Planetary Science, 2009, 1(1): 316–321. doi: 10.1016/j.proeps.2009.09.050 [8] ZHU C J, LIN B Q, LU Z G, et al. Experiments on flame and shock wave propagation in a parallel tunnel in underground coal mines [C]//Progress in Safety Science and Technology. Beijing: Science Press, 2010: 1204–1208. [9] BARTKNECHT W. 爆炸过程和防护措施[M]. 何宏达, 译. 北京: 化学工业出版社, 1985.BARTKNECHT W. Explosion process and the protective measures [M]. Translated by HE H D. Beijing: Chemical Industry Press, 1985. [10] SAVINKO C K. 井下空气冲击波[M]. 丁亚伦, 龙维祺, 译. 北京: 冶金工业出版社, 1979.SAVINKO C K. Ударные воздущные волны в подземных выработка [M]. Translated by DING Y L, LONG W Q. Beijing: Metallurgical Industry Press, 1979. [11] 罗振敏, 邓军, 文虎, 等. 小型管道中瓦斯爆炸火焰传播特性的实验研究 [J]. 中国安全科学学报, 2007, 17(5): 106–109. doi: 10.3969/j.issn.1003-3033.2007.05.019LUO Z M, DENG J, WEN H, et al. Experimental study on flame propagation characteristics of gas explosion in small-scale duct [J]. China Safety Science Journal, 2007, 17(5): 106–109. doi: 10.3969/j.issn.1003-3033.2007.05.019 [12] 徐景德, 徐胜利, 杨庚宇. 矿井瓦斯爆炸传播的试验研究 [J]. 煤炭科学技术, 2004, 32(7): 55–57. doi: 10.13199/j.cst.2004.07.57.xujd.019XU J D, XU S L, YANG G Y. Experimental study on mine gas explosion diffusion [J]. Coal Science and Technology, 2004, 32(7): 55–57. doi: 10.13199/j.cst.2004.07.57.xujd.019 [13] 贾智伟, 刘彦伟, 景国勋. 瓦斯爆炸冲击波在管道拐弯情况下的传播特性 [J]. 煤炭学报, 2011, 36(1): 97–100. doi: 10.13225/j.cnki.jccs.2011.01.030JIA Z W, LIU Y W, JING G X. Propagation characteristic about shock wave of gas explosion at laneway corner [J]. Journal of China Coal Society, 2011, 36(1): 97–100. doi: 10.13225/j.cnki.jccs.2011.01.030 [14] 江丙友, 林柏泉, 朱传杰, 等. 瓦斯爆炸冲击波在并联巷道中传播特性的数值模拟 [J]. 燃烧科学与技术, 2011, 17(3): 250–254.JIANG B Y, LIN B Q, ZHU C J, et al. Numerical simulation on shock wave propagation characteristics of gas explosion in parallel roadway [J]. Journal of Combustion Science and Technology, 2011, 17(3): 250–254. [15] 朱传杰, 林柏泉, 江丙友, 等. 瓦斯爆炸在封闭管道内冲击振荡特征的数值模拟 [J]. 振动与冲击, 2012, 31(16): 8–12, 17. doi: 10.3969/j.issn.1000-3835.2012.16.002ZHU C J, LIN B Q, JIANG B Y, et al. Numerical simulation on oscillation and shock of gas explosion in a closed end pipe [J]. Journal of Vibration and Shock, 2012, 31(16): 8–12, 17. doi: 10.3969/j.issn.1000-3835.2012.16.002 [16] 解北京, 杜玉晶, 王亮. 分岔管道内瓦斯爆炸火焰传播规律实验及数值模拟 [J]. 重庆大学学报, 2019, 42(6): 69–77. doi: 10.11835/j.issn.1000-582X.2019.06.008XIE B J, DU Y J, WANG L. Experimental and numerical simulation of gas propagation law of gas explosion flame in bifurcation pipeline [J]. Journal of Chongqing University, 2019, 42(6): 69–77. doi: 10.11835/j.issn.1000-582X.2019.06.008 [17] 耿进军, 许胜铭, 景国勋, 等. 非燃烧区瓦斯爆炸冲击波在单向分岔管道内传播规律的试验研究 [J]. 安全与环境学报, 2015, 15(5): 108–111. doi: 10.13637/j.issn.1009-6094.2015.05.023GENG J J, XU S M, JING G X, et al. Propagating regularity of the gas explosion shock waves at unidirectional bifurcation of pipeline in the non-combustion zone [J]. Journal of Safety and Environment, 2015, 15(5): 108–111. doi: 10.13637/j.issn.1009-6094.2015.05.023 [18] 许胜铭. 复杂管道内瓦斯爆炸冲击波、火焰及有毒气体传播规律研究[D]. 焦作: 河南理工大学, 2015.XU S M. Study on propagation law of gas explosion shock wave, flame and poisonous gas in complex pipeline [D]. Jiaozuo: Henan Polytechnic University, 2015. [19] 高建良, 吴泽琳, 王文祺, 等. 瓦斯爆炸冲击波在角、并联巷道内传播规律对比研究 [J]. 安全与环境学报, 2021, 21(6): 2494–2499. doi: 10.13637/j.issn.1009-6094.2020.1012GAO J L, WU Z L, WANG W Q, et al. Comparative study on the propagation law of gas explosion shock wave in the diagonal and parallel roadway [J]. Journal of Safety and Environment, 2021, 21(6): 2494–2499. doi: 10.13637/j.issn.1009-6094.2020.1012 [20] 罗振敏, 吴刚. 密闭空间瓦斯爆炸数值模拟研究 [J]. 煤矿安全, 2020, 51(2): 1–4. doi: 10.13347/j.cnki.mkaq.2020.02.002LUO Z M, WU G. Numerical simulation of gas explosion in confined space [J]. Safety in Coal Mines, 2020, 51(2): 1–4. doi: 10.13347/j.cnki.mkaq.2020.02.002 [21] 田诗雅, 刘剑, 高科. 密闭管道瓦斯爆炸冲击波冲量及压力上升速率的实验研究 [J]. 中国安全生产科学技术, 2015, 11(8): 16–21. doi: 10.11731/j.issn.1673-193x.2015.08.003TIAN S Y, LIU J, GAO K. Experimental study on shock wave impulse and pressure rise rate of gas explosion in airtight pipeline [J]. Journal of Safety Science and Technology, 2015, 11(8): 16–21. doi: 10.11731/j.issn.1673-193x.2015.08.003 [22] 叶青, 林柏泉. 受限空间瓦斯爆炸传播特性 [M]. 徐州: 中国矿业大学出版社, 2012.YE Q, LIN B Q. Propagation characteristics of gas explosions in confined spaces [M]. Xuzhou: China University of Mining and Technology Press, 2012. [23] 赵丹, 齐昊, 潘竞涛, 等. 不同类型管道内瓦斯爆炸冲击波传播试验研究 [J]. 中国安全科学学报, 2018, 28(3): 79–83. doi: 10.16265/j.cnki.issn1003-3033.2018.03.014ZHAO D, QI H, PAN J T, et al. Experimental study on gas explosion shock wave propagation in different types of pipelines [J]. Chinese Safety Science Journal, 2018, 28(3): 79–83. doi: 10.16265/j.cnki.issn1003-3033.2018.03.014 -

下载: